Перейти к содержанию
Форум химиков на XuMuK.ru.

Удаление соли из антибиотика


Рекомендуемые сообщения

🚑 Решение задач, контроши, рефераты, курсовые и другое! Онлайн сервис помощи учащимся. Цены в 2-3 раза ниже! 200 руб. на 1-й заказ по коду vsesdal143982

Судя по публикациям, низин выпадает в осадок при pH≥8,5 (именно там на 8,5 находится его изоэлектрическая точка). Кроме того для хорошей растворимости необходимо добавить фосфатный буфер:

Nisin (MW 3510 Da) was obtained from Prime Pharma (Batch No. 20050116-1, Gordons Bay, South Africa) and was dissolved in filtered, 10 mM monobasic sodium phosphate solution to ensure complete solubilization. Filtered, 10 mM dibasic sodium phosphate was then added to bring the pH to 7.0. Nisin has an isoelectric point in the alkaline range (above 8.5) and is therefore positively charged at neutral pH. Bovine serum albumin (BSA; Sigma–Aldrich) was dissolved in filtered, 10 mM sodium phosphate buffer at pH 7.0. Solutions of nisin and BSA (each at 5.0 mg/mL) were aliquoted into 0.5 mL samples and stored at −80 °C; they were thawed immediately before use. The Pluronic® surfactant F108 (MW 14,600, with two end blocks of PEO that are 129 monomer units in length and a center block of PPO that is 56 monomer units in length, i.e., HO–(CH2–CH2–O)129–(CHCH3–CH2–O)56–(CH2–CH2–O)129–H) was purchased from BASF and was dissolved in 10 mM phosphate buffer (pH 7) as needed.

http://www.ncbi.nlm.nih.gov/pmc/articles/PMC2587252/
Ссылка на комментарий

Судя по публикациям, низин выпадает в осадок при pH≥8,5 (именно там на 8,5 находится его изоэлектрическая точка). Кроме того для хорошей растворимости необходимо добавить фосфатный буфер:

http://www.ncbi.nlm.nih.gov/pmc/articles/PMC2587252/

Поясните пожалуйста, то есть соль из ниина нельзя удалять? Может можно ее чем то заменить?

Изменено пользователем Askerwell
Ссылка на комментарий

Смотря какую соль. Я не уверен, что там только чистый хлорид натрия. Скорее всего, там еще и фосфаты и гидрофосфаты натрия, которые при растворении сухого препарата в воде дают то самое нужное вам pH меньше 8. Поэтому для гель-фильтации применяют не чистую воду, а тот же фосфатный буфер.

 

Кроме того, я посмотрел количество добавляемого препарата низина на тонну готового продукта — там получается максимум 200-250 грамм. Даже если предположить, что в сухом препарате 40% от веса это соль, не думаю что какие-то 80 грамм соли на тонну пересолят ваш продукт. Вот и встает вопрос, а стоит ли возня с этой гель-фильтрацией конечного результата?

Ссылка на комментарий

Смотря какую соль. Я не уверен, что там только чистый хлорид натрия. Скорее всего, там еще и фосфаты и гидрофосфаты натрия, которые при растворении сухого препарата в воде дают то самое нужное вам pH меньше 8. Поэтому для гель-фильтации применяют не чистую воду, а тот же фосфатный буфер.

 

Кроме того, я посмотрел количество добавляемого препарата низина на тонну готового продукта — там получается максимум 200-250 грамм. Даже если предположить, что в сухом препарате 40% от веса это соль, не думаю что какие-то 80 грамм соли на тонну пересолят ваш продукт. Вот и встает вопрос, а стоит ли возня с этой гель-фильтрацией конечного результата?

Там скорее всего не соль, а целая куча таблетирующих веществ -органики и неорганики, растворимых и нерастворимых в воде. Я недавно был на семинаре БАСФ, там рассказывали проо таблеттирование - это целая наука и куча добавок регулирующих различные свойства таблетки

Изменено пользователем Arkadiy
Ссылка на комментарий

ZaecЪ сказал(а) 17 Июн 2016 - 23:41:

 

Смотря какую соль. Я не уверен, что там только чистый хлорид натрия. Скорее всего, там еще и фосфаты и гидрофосфаты натрия, которые при растворении сухого препарата в воде дают то самое нужное вам pH меньше 8. Поэтому для гель-фильтации применяют не чистую воду, а тот же фосфатный буфер.

 

Кроме того, я посмотрел количество добавляемого препарата низина на тонну готового продукта — там получается максимум 200-250 грамм. Даже если предположить, что в сухом препарате 40% от веса это соль, не думаю что какие-то 80 грамм соли на тонну пересолят ваш продукт. Вот и встает вопрос, а стоит ли возня с этой гель-фильтрацией конечного результата?

Стоит, 200-250 мг это для кислых продуктов, так как в кислой среде низин лучше работает, например, для икры вообще 500 мг/кг. На счет того что там не только соль вы правы, чем то еще отдает . А если на выходе из трубки уже добавить эти фосфаты и т.д. Или на выходе выпав в осадок - то все уж не растворить ничем? А как они могут выпасть в осадок, если на выходе будет чистый низин и вода, вода же ведь нейтральной Ph.

 

И еще такой технический вопрос - на конце трубки ставить сетку или что--то в этом роде, чтоб гель не выпал из трубки? И хватит ли собственного веса воды с низином, чтоб все это дело прошло через гель, или нужен насос?

Там скорее всего не соль, а целая куча таблетирующих веществ -органики и неорганики, растворимых и нерастворимых в воде. Я недавно был на семинаре БАСФ, там рассказывали проо таблеттирование - это целая наука и куча добавок регулирующих различные свойства таблетки

Может посоветуете какую-нибудь литературу на эту тему?

Изменено пользователем Askerwell
Ссылка на комментарий

Стоит, 200-250 мг это для кислых продуктов, так как в кислой среде низин лучше работает, например, для икры вообще 500 мг/кг. На счет того что там не только соль вы правы, чем то еще отдает . А если на выходе из трубки уже добавить эти фосфаты и т.д. Или на выходе выпав в осадок - то все уж не растворить ничем? А как они могут выпасть в осадок, если на выходе будет чистый низин и вода, вода же ведь нейтральной Ph.

 

И еще такой технический вопрос - на конце трубки ставить сетку или что--то в этом роде, чтоб гель не выпал из трубки? И хватит ли собственного веса воды с низином, чтоб все это дело прошло через гель, или нужен насос?

Может посоветуете какую-нибудь литературу на эту тему?

Литература - фармстатья на этот препарат - там написана полная формула таблетки, все входящие в нее компоненты. Или вариант, не париться и перекристаллизовать из органики, в фармстатье должна быть приведена растворимость действующего вещества в различных растворителях

Ссылка на комментарий

Стоит, 200-250 мг это для кислых продуктов, так как в кислой среде низин лучше работает, например, для икры вообще 500 мг/кг.

Пол-грамма не много ли?

Применение низина эффективно при консервировании следующих продуктов:

 

плавленого сыра и продуктов из плавленого сыра. Добавление препарата в количестве 100-250г/т увеличивает срок хранения сыра до 6 месяцев;

молоко, молочные напитки с вкусовыми добавками. Добавление препарата в количестве 50 -150 г/т перед пастеризацией увеличивает срок хранение при комнатной температуре с 2 до 6 дней;

сгущенное молоко (без сахара). Добавление препарата в количестве 80-100 г/т сгущенного молока полностью предотвращает рост типичных спорообразующих бактерий и позволяет снизить время переработки приблизительно на 10 минут;

молочные десерты, включающие крупы, сахар, сливки или цельное молоко. Добавление Низина в количестве 50-100 г/т позволяет снизить уровень тепловой обработки и повысить качество готового продукта;

овощные и фруктовые консервы. Добавление низина в количестве 100-150 г/т увеличивает срок хранения минимум до двух лет в жарком климате и позволяет проводить мягкую тепловую обработку, сохраняя вкусовые свойства и целостность продукта;

консервированные грибы. Добавление от 100 до 200 мг Низина на 1 кг продукта предотвращает прорастание спор после термической обработки при длительном хранении в странах с жарким климатом;

рыбные продукты. Добавление низина в количестве 0,2 гр./кг в пpоизводстве зеpнистой икpы осетpовых позволяет в 2 pаза сокpатить пpодолжительность пpоцесса пастеpизации.

в хлебопекарном производстве - 25...40 г на 100 кг муки;

в пивоварении - 10...40 мг на л готового продукта.

мясные и рыбные консервы - 50-200 г на т готовой продукции

 

Стадия внесения консерванта в продукт определяется технологией его производства. Оптимальным считается момент внесения сразу после пастеризации или стерилизации, когда в результате термообработки снижается уровень обсемененности микроорганизмами, а добавка консерванта позволяет сохранять его достаточно долго.

 

Хранение

Низин сохраняет свою активность в течение 2-х лет при хранении в сухом помещении, при температуре от 4 0С до 25 0С, в условиях исключающих попадание прямых лучей.

На счет того что там не только соль вы правы, чем то еще отдает . А если на выходе из трубки уже добавить эти фосфаты и т.д. Или на выходе выпав в осадок - то все уж не растворить ничем? А как они могут выпасть в осадок, если на выходе будет чистый низин и вода, вода же ведь нейтральной Ph.

 

И еще такой технический вопрос - на конце трубки ставить сетку или что--то в этом роде, чтоб гель не выпал из трубки? И хватит ли собственного веса воды с низином, чтоб все это дело прошло через гель, или нужен насос?

1. Нет, фосфатный буфер добавляют прямо к гелю (иногда сухой гель замачивают прямо в этом буфере), в нём же растворяют вещество для очистки, его же прокачивают через гель. Это делается для предотвращения выпадения белка на всех стадиях, т.к. возможны локальные изменения pH и тогда белок образует пленку на стенках или частицах геля - вся работа насмарку! Уж поверьте, сам пока научился запорол массу проб :D

2. Всё зависит от размеров колонки, точнее её длины. Если она большая, то всё идет самотеком; если же она не длинная, а короткая, то нужен или насос с мягким ходом (без пульсации потока), или же в емкости с буфером для промывки повышают давление воздуха. Первый вариант требует специального оборудования и применяется в научной аналитике, второй в полупромышленных условиях. Сетка обязательна! Лучше пористое стекло.

 

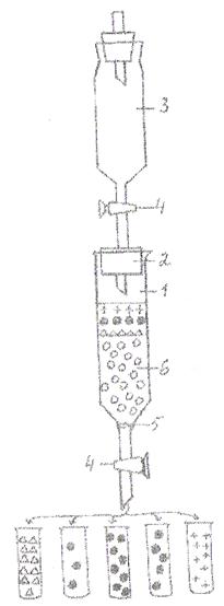
image028.jpg

1-колонка; 2-пробка со стеклянной трубкой; 3-капельница, содержащая элюирующий раствор; 4-зажим; 5-кружок фильтровальной бумаги; 6-поверхность суспензии геля

Изменено пользователем ZaecЪ
Ссылка на комментарий

Там скорее всего не соль, а целая куча таблетирующих веществ -органики и неорганики, растворимых и нерастворимых в воде. Я недавно был на семинаре БАСФ, там рассказывали проо таблеттирование - это целая наука и куча добавок регулирующих различные свойства таблетки

это не там ли рассказывали про разработку пролонгированных таблеток?))))

 

Вопрос к топикостартеру- а нельзя купить просто антибиотик и заложить в продукт расчетное количество, чем этот геморрой делать?

Ссылка на комментарий

это не там ли рассказывали про разработку пролонгированных таблеток?))))

 

Вопрос к топикостартеру- а нельзя купить просто антибиотик и заложить в продукт расчетное количество, чем этот геморрой делать?

Интересует, могу сбросить материалы на реальную почту, они их раздавали  на флешках

Ссылка на комментарий

Интересует, могу сбросить материалы на реальную почту, они их раздавали  на флешках

нет, я их наслушался в свое время)))) тем более что две наших сотрудницы там были

Ссылка на комментарий

Для публикации сообщений создайте учётную запись или авторизуйтесь

Вы должны быть пользователем, чтобы оставить комментарий

Создать аккаунт

Зарегистрируйте новый аккаунт в нашем сообществе. Это очень просто!

Регистрация нового пользователя

Войти

Уже есть аккаунт? Войти в систему.

Войти
  • Последние посетители   0 пользователей онлайн

    • Ни одного зарегистрированного пользователя не просматривает данную страницу
×
×
  • Создать...

Важная информация

Мы разместили cookie-файлы на ваше устройство, чтобы помочь сделать этот сайт лучше. Вы можете изменить свои настройки cookie-файлов, или продолжить без изменения настроек.