Перейти к содержанию
Форум химиков на XuMuK.ru.

Улучшенный аппарат для перегонки с водяным паром


Shizuma Eiku

Рекомендуемые сообщения

🚑 Решение задач, контроши, рефераты, курсовые и другое! Онлайн сервис помощи учащимся. Цены в 2-3 раза ниже! 200 руб. на 1-й заказ по коду vsesdal143982

Друзья, в данной теме я хочу поделиться улучшенным аппаратом для перегонки с водяным паром, который можно собрать буквально в любой лаборатории т.к. он состоит из самой распространённой химической посуды. При этом, аппарат обладает значительными преимуществами перед классическим. Его назначение – значительно упростить процедуру перегонки с водяным паром жидкостей, в т.ч. лабораторную отгонку эфирного масла из растительного сырья, которая всегда вызывает определенные затруднения. На данном форуме периодически возникают вопросы, связанные с отгонкой эфирных масел в домашних условиях, данный аппарат как раз полностью удовлетворит подобные запросы, по крайней мере, проще и лучше собрать не выйдет. Далее я буду максимально подробно описывать все моменты с расчетом, что эту тему будут читать не обязательно профессиональные химики.

 

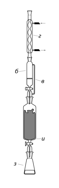
Общее описание
Итак, о принципе работы аппарата опытным химикам нетрудно догадаться, просто взглянув на его схематичное изображение:
1.png.56eb1275904ad30bae7b31d038dc9a30.png
Аппарат состоит из нагреваемой колбы а, капельной воронки б с компенсатором давления в и обратного холодильника г. Если в колбу а помещены несмешивающиеся жидкости и она нагревается, то жидкости закипают при температуре более низкой, чем каждая в отдельности, их пары поступают через канал в в капельную воронку б с закрытым краном, после чего в обратный холодильник г, где конденсируются и стекают в виде капель в воронку. В воронке происходит расслаивание двух несмешивающихся жидкостей. Таким образом, происходит перенос отгоняемого вещества из колбы в воронку. В случае если перегоняемая жидкость легче воды, она будет скапливаться в воронке верхним слоем, а нижний слой можно изредка сливать поворачивая кран (или выставив его на число капель в минуту, равное числу стекающих капель дистиллята). В данном аппарате также возможна перегонка жидкостей которые тяжелее воды – в этом случае её капли будут оседать на дно воронки, а уровень водного слоя повышаться, пока не дойдет до канала компенсатора давления в, через который вода будет сливаться обратно в колбу. Канал не может «захлебнуться» т.к. капли конденсируются и стекают в воронку с недостаточной для этого скоростью – 1 капля должна соответствовать примерно 50-100 мл пара, т.е. весь занимаемый паром объем аппарата от силы соответствует нескольким каплям.
Перегонка жидкостей легче воды на двух примерах описана ниже, а для жидкостей тяжелее воды, я пока только опробовал перегонку чистой воды с переполненной воронкой. Она прошла без проблем – как бы я не грел колбу, канал в так и не захлебывался. В остальном, когда я найду подходящие для перегонки жидкости тяжелее воды (вероятно, нитробензол или анилин), то обязательно опробую аппарат и на них.

 

Части аппарат и их назначение
Колба а может быть любого подходящего типа и размера, коническая колба нарисована лишь для примера, но это удачный вариант из-за широкого дна и устойчивости. В случае отгонки эфирных масел в колбу наливается вода и помещается растительное сырье. В случае перегонки с водяным паром жидкостей, в колбу помещается несколько кипелок, наливается вода и после неё перегоняемая жидкость. Кипелки необходимы для более спокойного закипания и пренебрегать ими не стоит. В качестве подходящих кипелок я рекомендую мелкие кусочки затвердевшего гипса – они начинают выпускать пузырьки уже при небольшом нагревании, доступны и инертны. Также кипелки можно делать из битого фарфора, керамзита, пемзы и т.п. Объем колбы может быть любым, например, 100 мл при перегонке небольшой порции масла с водой, и несколько литров при отгонке масла из растительного сырья.
В ходе работы аппарата колба а нагревается, для чего может использоваться любой подходящий способ. Я рекомендую электроплитку, либо пламя с рассекателем, также должна подходить водяная баня т.к. температура закипания смеси воды с другой жидкостью будет несколько ниже температуры кипения чистой воды. Рассекатель и керамическая/ асбестовая сетка как таковые не являются необходимыми даже при использовании газовой конфорки, современные колбы из боросиликатного стекла (вроде тех, которые использовались в опытах) отлично выдерживают многократное нагревание открытым пламенем и на электроплитке (в т.ч. со спиралью), роль рассекателя и сетки сводится только к повышению равномерности нагрева. По аналогии с аппаратом Соксклета, для нагревания должен хорошо подойти колбонагреватель вместе с круглодонной колбой.


Капельная воронка б может быть любой подходящей по емкости, само собой что ей необходим компенсатор давления. Для опытов я использовал несколько совершенно разных воронок - и воронку на 250 мл и на 30 мл, вне зависимости от размера они действуют одинаково. В саму воронку перед перегонкой может быть налита вода, либо раствор какой-нибудь соли.
Наличие крана в воронке дает возможность слить нижний слой обратно в колбу, что позволяет аппарату работать непрерывно сколько угодно времени. Для перегонки эфирных масел это очень существенно т.к. процесс полной отгонки масла может занимать десяток-два часов и в обычном аппарате придется считаться со значительными объемами водного слоя и растворением в нём части масла. Также появляется возможность удобнее отгонять масла с относительно низким давлением пара, в этом случае просто увеличивается время перегонки.


Высоких требований к обратному холодильнику не предъявляется; в опытах я использовал шариковый холодильник с 4 шарами, чего вполне хватило. Возможно, для слишком летучих масел вроде мятного, желательным был бы холодильник с 6-8 шарами, но и с 4 я успешно перегонял небольшой объем готового мятного масла. Лабораторные руководства часто рекомендуют в обратном холодильнике подсоединять ввод холодной воды снизу, а вывод сверху. С моей точки зрения, это неверный, ленивый вариант, т.к. в холодильниках всегда используется принцип противотока, следовательно, холодная вода должна вводиться сверху, а отработанная уходить снизу. Для соединения холодильника с водопроводом (данный вопрос возникал на форуме) используются два куска силиконового шланга и переходник-штуцер, который вкручивается в любой современный кран вместо сетки-аэратора:

.thumb.jpg.f472e3ab82e1b0fcaf376ad735978294.jpg.thumb.jpg.7bceff1638d880b0709cd6411d911d72.jpg

Штуцер слева, выкрученный аэратор справа.

 

Предполагается, что аппарат будет собран на шлифах, для которых нужна подходящая смазка. В опытах я использовал вязкое силиконовое масло, а именно масло ПМС-60000 и оно вполне удовлетворяло своим целям. Минусом силиконового масла является способность растворять перегоняемые органические масла в небольших, но достаточных для сохранения запаха количествах. В целом, отыскать идеально подходящую смазку должно быть затруднительно т.к. жидкость должна быть одинаково нерастворима и в воде и в любых углеводородах и в кислородсодержащих соединениях, при этом еще и обладать очень низким давлением пара.


Для монтажа аппарата необходим лабораторный штатив и 2-3 комплекта лапок с держателями для них. Высоты обычного лабораторного штатива безусловно должно хватить для установки электроплитки, 1-2 л колбы на неё с закреплением колбы за горлышко лапкой, воронки, с закреплением её лапкой за широкую часть. Закреплять лапками холодильник не обязательно, у меня он отлично держался, никаких вибраций не наблюдалось вовсе. Если есть необходимость удлинить штатив, для этого можно использовать метровую трубку из нержавейки подходящего диаметра с тонкой стенкой, которая просто надевается на штырь штатива.
Способы монтажа аппарата на электроплитке и обычной газовой плите:

2.thumb.jpg.b305c7976c06c688e6b0ed34feee1f77.jpg.thumb.jpg.10e51620e3ded3de11b82f4af34f5e8c.jpg

 

 

Работа аппарата
При нагревании, согласно закону Дальтона, давление паров двух несмешивающихся жидкостей возрастает независимо друг от друга. Нагревание такой смеси приводит к их совместному закипанию при температуре, более низкой, чем температура кипения каждой жидкости в отдельности, причем в этой точке оба слоя начинают кипеть одновременно. Это и обеспечивает аккуратность их совместного закипания – не происходит «стрельбы» как в случае кипения воды под слоем масла на горячей сковородке, вместо этого две жидкости кипят как одна с разницей лишь в количестве выделяющихся из каждой паров, однако, пары равномерно выделяются из обеих. Собственно, это и позволяет значительно упростить аппарат, избавившись от традиционного паровика. Исторически, первые аппараты для отгонки эфирных масел отдельного паровика не имели - в их кубе кипела вода вместе с растительным сырьем, как и в описываемом аппарате. Паровик появился впоследствии в связи с ростом масштабов перегонки и усиления силы нагрева для большей массы сырья с водой – слишком большая масса растений давит на слои ниже, из них выдавливается и перестает поступать вода, они перегреваются и подгорают. В лабораторных масштабах подобное может произойти только если растительное сырье будет специально очень плотно набито в колбу, а колба слишком интенсивно и неравномерно обогреваема, чего следует избегать.

 

 

Сравнение с другими аппаратами для перегонки с водяным паром
Из реально существующих и применяемых, фактически, существуют два варианта; а именно, это классический лабораторный аппарат
1.thumb.png.f5f40222cc2f83cf128149c5d642aefe.png
и аппарат, являющимся обычным аппаратом для перегонки в разных вариациях, с добавлением насадки, в которую помещается растительное сырье (фотографии из интернета):

22.jpg.03bb093357ba763f43e1b5634b5f7b48.jpg

21.thumb.jpg.e4f67fd699541df9edfeb98f48ad639b.jpg

Главной частью такого аппарата является колбообразная насадка с муфтой и керном, она редка и ее цена находится в средней категории.


У описываемого аппарата имеются следующие преимущества перед ними:


1 Улучшенный аппарат очень прост
Другие аппараты содержит фактически все те-же детали (колба, воронка с краном, холодильник), но кроме них есть еще множество других элементов конструкции. Например, классический аппарат во многом собран на стеклянных трубках, требует не менее двух штативов, два источника нагревания и т.д. Т.к. почти в каждой лаборатории найдется воронка с компенсатором давления и обратный холодильник, перегонка с водяным паром становится доступной всем. Для желающих перегонять эфирные масла у себя дома это не просто самый экономный вариант, а еще и самый лучший во всех остальных отношениях - по качеству и удобству использования.


2 Все соединения на шлифах и их мало
В случае классического аппарата для перегонки с паром значительной проблемой является именно необходимость использовать пробки. Использование пробок никак не мешает при перегонке органических жидкостей, однако, при перегонке эфирных масле они портятся от резины, будучи хорошими растворителям. На шлифах собрать классический аппарат для перегонки с паром также трудно т.к. наклонное положение круглодонной колбы и изгиб на конце подводящей пар трубки необходимы для повышения эффективности процесса. В описываемом аппарате всего 2 шлифовых соединения (сравн. с не менее чем 5 соединениями в варианте аппарата с насадкой) и 1 кран, меньше их уже быть попросту не может.


3 Циклическая дистилляция с разделением слоев внутри аппарата
Это уникальное качество, поскольку ни один из других вариантов аппарата для перегонки с паром не позволяет вести процесс непрерывно. Из него следует возможность подвергать отгонке масла с низким давлением пара за счет увеличения продолжительности процесса – масло рано или поздно отгонится. В других вариантах аппарата это может быть невозможным т.к. слой отгоняемого масла может быть слишком мал, чтобы с ним комфортно работать, или работать вообще – на стенках колб и воронок при операциях может оставаться слишком много масла и разделять слои эффективно попросту не получится.


4 Компактность
Улучшенный аппарат гораздо компактнее классического, построен не «в сторону», а «вверх», как и аппарат Соксклета. В средней сборке его высота будет соответствовать высоте большой колбы с обратным холодильником – совершенно обычной в лабораторной практике.

 

Развитие
Из-за простоты конструкции, в неё можно внести массу интересных изменений, оптимизирующих перегонку с паром для отдельных случаев.
Вкратце можно вспомнить как различные факторы влияют на интенсивность этого процесса:
1 Повышение температуры процесса всегда повышает эффективность перегонки с паром.
2 Повышение давления существенно повышает эффективность процесса, однако, разряжение также существенно его снижает.
3 Использование раствора инертных минеральных солей (вроде хлорида натрия, сульфата натрия и т.п.) вместо чистой воды повышает эффективность отгонки масла.
4 Масло будет перегоняться тем интенсивнее, чем выше давление его паров и чем ниже давление паров воды.

 

1 Исходя из этого, вполне можно повысить эффективность перегонки еще сильнее, если использовать вместо чистой воды в колбе и капельной воронке концентрированные растворы хорошо растворимых минеральных солей – NaCl, CaCl2, Na2SO4, KCl, MgCl2. Эти растворы закипают при повышенной температуре, дают более низкое давление водяного пара, чем чистая вода (закон Рауля) т.е. идеально соответствуют сразу двум условиям.


2 Перегонка под разряжением кажется маловероятным сценарием из-за снижения доли отгоняемой жидкости, но, учитывая возможность непрерывного циклирования, она становится вполне возможной – в отличии от существующих аппаратов. В этом случае основные требования ложатся на воронку, а она должна хорошо выдерживать давление атмосферы, её кран и шлифы наверняка придется дошлифовать при помощи полировальной пасты, однако, перегонка под разряжением, вне сомнений, является возможной. Для неё достаточно лишь добавить на водоструйный холодильник керн с краном, соединенный с обычной аппаратурой для вакуума. Вакуумная перегонка с паром может применяться для малостойких к нагреванию веществ, либо даже наоборот – при нагревании и с заменой воды на другую жидкость, с более низким давлением пара, не растворяющую перегоняемый компонент.


3 Гораздо более практичное улучшение, это перегонка с водяным паром в среде инертного газа – в описываемом аппарате это очень просто реализовать, например, заменив колбу а на колбу Бунзена д с отростком е, через который подается нужный инертный газ:
2.png.739e32d9bb656215bfa57a6bd4162ffd.png
Само собой, что это не единственный вариант, например, вместо колбы д можно использовать двухгорлую круглодонную колбу, сделать ввод газ с барботажем и т.п. Современные колбы Бунзена без проблем выдерживают нагревание; учитывая, что их главное назначение это работа под вакуумом, для сборки такого аппарата отлично подходят «сомнительные» колбы Бунзена, которые надежно переносят нагрев, но которые нежелательно использовать под разряжением.
Даже если инертный газ легче воздуха (водород), его ток должен будет вытеснить воздух из аппарата за счет смешивания, ну а если тяжелее (углекислота, аргон), то проблем вовсе не должно быть.

 

4 Также возможно немного расширить функционал аппарата, заменив втулку в кране на терхходовую, с каналом в сторону, вроде такой:
1954269087_.jpg.3b6d0ee7ecf5e9a2af98669702102451.jpg
Она даст возможность аккуратно слить из аппарата слой, или его часть, не останавливая работы. Например, можно прямо в ходе перегонки слить слой масла тяжелее воды, либо, в случае если масло легче, слить водный слой и долить новый через обратный холодильник.

 

Из других возможных вариантов, в первую очередь, конечно, можно вспомнить об упомянутой выше насадке:

.thumb.jpg.235a658880a4a90148f5a80e9a5b00a6.jpg

Казалось бы, её можно добавить в описанный аппарат и т.о. сделать его вариант, где сырье будет обрабатываться исключительно паром. Тем не менее, видимо что можно обойтись и без неё, попросту взяв объемную воронку без компенсатора давления на шлифах и загрузив в неё растительное сырье:

3.thumb.png.63d336d0bd7207724040c046b089fd8a.png
В этом случае колба а заменяется на з с водой, которая служит паровичком, добавляется воронка и, в которой находится растительное сырье, например, лепестки роз. Само собой, что кран воронки должен быть всегда открыт на протяжении всего процесса. В остальном такой аппарат должен функционировать аналогично описанному и также быть доступным для сборки в любой лаборатории.

 

Вариант с раствором минеральной соли я уже опробовал - перегонка происходит, но насколько интенсивнее сказать не могу т.к. и с чистой водой она идет неплохо. Варианты с трехходовой втулкой и большой воронкой, заполненной сырьем, я опробую в некотором будущем.

 

Далее два практических примера использования описываемого аппарат - перегонка скипидара с водяным паром и отгонка можжевелового эфирного масла.

 

 

Перегонка технического скипидара
Ход сборки аппарата и перегонки будет отлично понятен на примере перегонки скипидара бренда Ясхим. Данный скипидар представлял собой слегка желтоватую жидкость с запахом окислившегося скипидара и нефтепродуктов.
Для перегони сначала монтируется колба и в неё помещаются кипелки, я использовал кусочки затвердевшего гипса:
.thumb.jpg.1ab6975f6ca81b6fd778855fba6a5319.jpg
Наливается вода и затем перегоняемая жидкость, я использовал соотношение объемов 2 к 1:
.thumb.jpg.ad368c4b4f6eef05a3dedb168dcb39b5.jpg
Аппарат в сборке:
.thumb.jpg.77a5bf0ff631a369575beeff1d5c9122.jpg

Собранный аппарат компактен - для сравнения чашка рядом:

.thumb.jpg.2e740dd1d9d08b6bf36a3699c6afa240.jpg
Для начала перегонки достаточно начать нагревание – когда смесь в колбе начнет кипеть и пар выходить в воронку, можно включать и воду в обратном холодильнике. На фотографиях у меня не получилось хорошо запечатлеть момент закипания – он интересен тем, что отчетливо видно, как пузырьки появляются сразу в обоих слоях.

(продолжение следует... :lol:)

Изменено пользователем Shizuma Eiku
  • Like 1
Ссылка на комментарий

Начало кипения:

.thumb.jpg.71329056503fa556d73e8203fa9c7e9e.jpg

И первый дистиллят:

1.thumb.jpg.4e6c2bcc5dea52085f3d540570938ddf.jpg

Как видно, первые фракции содержат очень много нерастворимого в воде слоя и мало самой воды – это наиболее летучие компоненты, которые скорее всего являются в основном нефтепродуктами, которыми производитель разбавил более ценный и дорогой скипидар. В дальнейшем соотношение отгоняемой воды и органической жидкости начинает изменяться в пользу воды. Последовательные этапы заполнения воронки:
2.thumb.jpg.bdbbe9dce2e057e40d51e37f4edff1c3.jpg

3.thumb.jpg.c195b5f1a9470991dca796ccd0ed65fa.jpg

4.thumb.jpg.a34f28db9e8dc9f0a75241772a6af14b.jpg

На протяжении всего процесса я специально не пользовался краном и не сливал нижний слой чтобы посмотреть соотношение отгоняемой жидкости к воде. К концу перегонки органический слой в колбе становится всё тоньше и кипит всё слабее, пока на последней стадии не прекращает пузыриться, появляется слабый и редкий шум кавитации.

5.thumb.jpg.0ebee80d71339139ae03c6145ae5209c.jpg

Собственно, появление шума кавитации свидетельствует о том, что из органического слоя уже почти ничего не отгоняется и кипит в основном вода. По завершении перегонки в колбе осталось немного желтой жидкости со слабым запахом окислившегося скипидара.

.thumb.jpg.e499674690ece58df12116cf3de1deec.jpg

Дистиллят, собравшийся в воронке, напротив, лишился изначального желтого цвета и имел запах свежеперегнанного скипидара с примесью нефтепродуктов. Выход составил 89% по объему.

После отстаивания и полного разделения слоев:
.thumb.jpg.3ae2faa0c992d2194b19b3ec2fe2bc69.jpg
Не вызывает сомнений, что технический скипидар содержал также углеводороды из нефтепродуктов – их легкая фракция отогналась в самом начале, в середине отогнались пинены (основная часть, перегонявшаяся с равномерной скоростью), а в кубе остались только тяжелые углеводороды и продукты окисления скипидара. Т.е. по-хорошему следовало бы погреть сначала скипидар на водяной бане, чтобы около 100о С из него испарилась легкая фракция.
По сравнению с классической перегонкой с паровичком, перегонка получилась гораздо более простой в исполнении, кроме того, и саму посуду после операции легче отмывать т.к. в ней нету трубок и отдельных пробок.

  • Like 1
Ссылка на комментарий

Получение эфирного масла можжевельника

Этот опыт демонстрирует возможность простой отгонки эфирных масле из растительного сырья. Состав можжевелового масла очень существенно колеблется в зависимости от места произрастания и сорта растения. Кроме того, он зависит и от того, какая часть растения была подвергнута перегонке – ягоды, хвоя или древесина, причем самого масла немного больше (приблизительно на 10%) в хвое, чем в ягодах, а масла в древесине в лучшем случае 1/6 от содержания в хвое.
9 лет назад, весной, я черенковал несколько маленьких веточек можжевельника, длиной с палец, пересадил их в открытый грунт летом, и они уже давно превратились в густые кусты диаметром по несколько метров.
346551488_.jpg.844ecc3073f8ff81185f3340b3f63841.jpg

Настало время его немного подстричь – на опыт ушла хвоя с ягодами примерно нескольких мелких веток. Срезанную хвою я не сушил, чтобы не потерять часть масла, также я её не взвешивал т.к. взвешивание растительного сырья обычно не имеет смысла из-за громадных колебаний влажности при незначительной доле извлекаемого компонента; кроме того, сам процесс полной отгонки масла может длиться слишком долго (порядка 20 часов). Перед опытом я пропустил всё сырье через ручную мельницу, которая его раздавила, перемешала и сделала более компактным.

2.thumb.jpg.9971ac201d93406e52a972bb0a5133a2.jpg

В результате получилась довольно туго набитая 1 л колба. В колбу перед добавлением сырья было налито ок. 400 мл дистиллированной воды, затем она была установлена на электроплитку с керамическим рассекателем-сеткой. При перегонке подобного растительного сырья кипелки не нужно добавлять т.к. само сырье выполняет их роль.

.thumb.jpg.6da88b7f267b4e3a73a2752fb88de7a3.jpg

После закипания воды был включен средний поток воды в холодильнике, собственно, это и есть начало перегонки. На жидкости, стекающей по трубке компенсации давления, буквально с первого момент закипания, отчетливо были видны маленькие подвижные капли масла, но отчетливо сфотографировать у меня их не получилось.

В определенный момент слой отогнанного масла становится отчетливо видным:

.thumb.jpg.65c05b177ceb465dddb69290545bc2ed.jpg

Перегонка была остановлена, когда собралось более-менее достаточно масла:

.thumb.jpg.3ced9b4928a9382154cf216f10e17af3.jpg

Нагревание было выключено, и после некоторого охлаждения прекращена подача воды в холодильник. Водный слой был отделен, а масляный слит в мерную пробирку:

.thumb.jpg.51f7c9c32a4b71c1cb2fa2824e631813.jpg

Вместе с каплями воды уровень составил ок. 1.9 мл, из которых воды ориентировочно 0.7 мл, т.е. масла было получено ок. 1.2 мл, что не так уж и плохо для перегонки, длившейся несколько часов. В предшествующем опыте у меня при схожем времени перегонки из меньшего количества можжевельника получилось 0.7 мл масла с вычетом воды. Тем не менее, согласно литературным данным, отгонка можжевелового масла при пропускании пара через сырье, выходит на пик лишь к 7 часу, пик длится до 16 часов, а затем доля отгоняемого масла падает к 20 часам. Дежурить у аппарата весь день и продолжать перегонку столько времени я не вижу смысла т.к. некоторое количество масла и так получено, причем выделена самая летучая из его частей т.е. самая ценная. По внешнему виду можжевеловое масло представляет подвижную, очень слегка желтоватую жидкость с насыщенным запахом. Запах масла без разбавления отличается от запаха сока можжевельника, зато при разбавлении (напр. оставшийся на стеклянной пробке) ему полностью соответствует. Запах полученного эфирного масла гораздо более интенсивный, чем у аптечных масел – вне сомнений, что последние разбавляются минеральным маслом. Собственно, полученное масло пахнет заметно сильнее аптечного масла эвкалипта (которое должно пахнуть очень сильно).

 

Это пока лишь несколько примеров. В будущем я займусь перегонкой в описанном аппарате других веществ и другого сырья. Из органических жидкостей я обязательно хочу получить и перегнать нитробензол (впрочем, пока нет ни одного из трех реактивов для этого), возможно, анилин. Из масел с большой вероятностью я получу розмариновое - розмарин, как агрессивное растение, у меня слишком уж разросся и его по всем меркам пора стричь :lol: Также вероятно что масла туи, мяты и мелиссы. Зимой конечно отгоню масла апельсина и мандарина.

Мне, как автору данного аппарата, было бы очень интересно услышать отзывы об опыте его использования, особенно по сравнению с классическим.

Изменено пользователем Shizuma Eiku
  • Like 1
Ссылка на комментарий

Поздравляю! Вы открыли для себя первый аппарат для перегонки с паром, от которого химики потом отказались из-за его недостатков и низкой эффективности в пользу более сложных конструкций.

  • Согласен! 1
Ссылка на комментарий
В 01.06.2024 в 23:31, chemister2010 сказал:

от которого химики потом отказались из-за его недостатков и низкой эффективности в пользу более сложных конструкций

Этой? :lol:

В 01.06.2024 в 23:00, Shizuma Eiku сказал:

1.thumb.png.f5f40222cc2f83cf128149c5d642aefe.png

На самом деле, вопрос лабораторной перегонки с водяным паром так и не был решен. Я не поленился и просмотрел что есть из публикаций в этой теме с конца 19-го века.

Ссылка на комментарий

Проблема контакта электроплитки со стекляшками похоже еще большая. Может там какую пластиковую прокладку можно ставить (типа силикона) ? Или ее может перегреть легко ? Большой воздушный зазор и сетки как-то намекают на большое тепловое сопротивление. Из простого мож ставить кольцо из жести вокруг стекляшки на плитку и засыпать песком все - но потом при разборке песок будет все засыпать ниже. 

 

Степень измельчения растишки какая-то малая на фотке и мало площади и фактически подавленых клеток - там может надо растирать до пасты (в ступке ?) и потом продавливать пар через пасту.

 

И вместо горячей воды греть растертую растишку уже можно пробовать магнетроном от СВЧ печки прямо внутри стекляшки. Уже после открытия электромагнетизма и наработки дешевых магнетронов в хозбыт можно уходить от алхимических методов средних веков между вспышками техноцивилизаций когда греют огнем по стекляшкам снаружи.

Изменено пользователем user2022
Ссылка на комментарий
В 01.06.2024 в 23:00, Shizuma Eiku сказал:

переходник-штуцер, который вкручивается в любой современный кран вместо сетки-аэратора:

Количество разных вариантов резьб там уже большое. И замерять их трудно по шагу т.к. витков мало. Ну и сам излив смесителя обычно предназначен для выпуска в атмосферное давление и уплотнение в поворотной части если оно есть держит весьма малое давление и может начинать протекать - хотя утечка обычно уходит в слив - но при платной воде это тоже потери. Потому идея вкручивания переходников в излив вместо насадок чтобы куда-нить отвести еще воду работает только с частью смесителей терпимо. Для части смесителей может быть трудно искать переходник с резьбы на штуцер.

Ссылка на комментарий
В 02.06.2024 в 07:49, user2022 сказал:

Проблема контакта электроплитки со стекляшками похоже еще большая. Может там какую пластиковую прокладку можно ставить (типа силикона) ? Или ее может перегреть легко ? Большой воздушный зазор и сетки как-то намекают на большое тепловое сопротивление. Из простого мож ставить кольцо из жести вокруг стекляшки на плитку и засыпать песком все - но потом при разборке песок будет все засыпать ниже. 

Distil.png

 

Изменено пользователем aversun
  • Хахахахахаха! 1
Ссылка на комментарий
В 01.06.2024 в 23:00, Shizuma Eiku сказал:

подходящая смазка. В опытах я использовал вязкое силиконовое масло,

Никакое масло не может выполнять роль смазки! Смазка это загущенное масло, то есть, она является неньютоновской жидкостью, способной не двигаться при наличии некоторого механического напряжения (так называемая прочность смазки). Именно она позволяет шлифу быть герметичным, так как для прорывающихся газов усилие из давления генерируется площадью узкого зазора между шлифами, а для смазки в шлифе - площадью всего шлифа, обоих его поверхностей. Именно поэтому правильно собранные шлифы могут держать много бар давления.

Ссылка на комментарий
В 01.06.2024 в 23:36, Shizuma Eiku сказал:

Этой? :lol:

На самом деле, вопрос лабораторной перегонки с водяным паром так и не был решен. Я не поленился и просмотрел что есть из публикаций в этой теме с конца 19-го века.

 

Да, этой. Перегонка с паром в этой установке потребует примерно в 3 раза меньше времени и пара. В этой установке можно перегонять твердые вещества, в вашей - нельзя, так как забъется трубка. При правильном использовании установки в ней значительно меньше окисления, чем в вашей.

Ваша установка в основном пригодна для легколетучих, слабоокисляющихся, жидких веществ. В более длинной установке можно перегонять труднолетучие вещества.

  • Отлично! 1
Ссылка на комментарий

Для публикации сообщений создайте учётную запись или авторизуйтесь

Вы должны быть пользователем, чтобы оставить комментарий

Создать аккаунт

Зарегистрируйте новый аккаунт в нашем сообществе. Это очень просто!

Регистрация нового пользователя

Войти

Уже есть аккаунт? Войти в систему.

Войти
  • Последние посетители   0 пользователей онлайн

    • Ни одного зарегистрированного пользователя не просматривает данную страницу
×
×
  • Создать...

Важная информация

Мы разместили cookie-файлы на ваше устройство, чтобы помочь сделать этот сайт лучше. Вы можете изменить свои настройки cookie-файлов, или продолжить без изменения настроек.